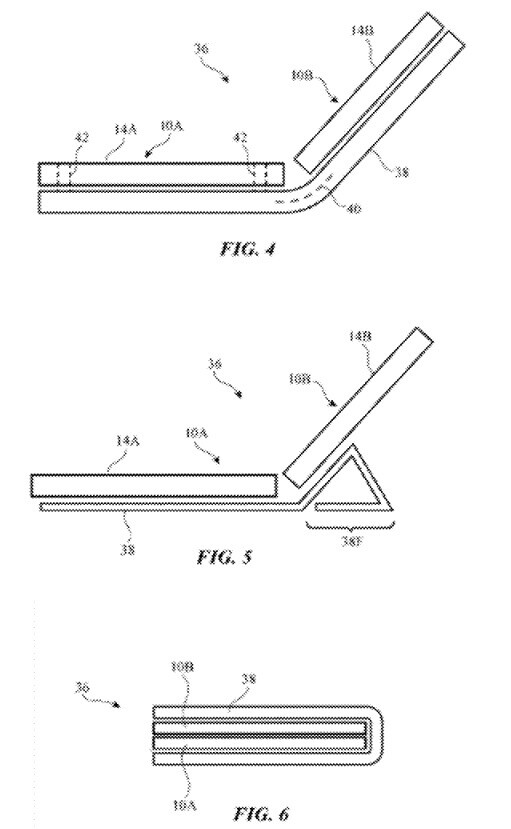
Manzana presentó recientemente una solicitud de patente (a través de AppleInsider) con la Oficina de Patentes y Marcas Registradas de EE. UU. (USPTO) titulado «Dispositivo de visualización autorretráctil y técnicas para proteger la pantalla mediante la detección de caídas». Apple prevé usar sensores dentro de un dispositivo con una pantalla plegable o enrollable que detectaría lo que llama «aceleración vertical con respecto al suelo» para determinar si este dispositivo se está cayendo. Si es así, el dispositivo podría cerrarse o retraerse parcialmente para evitar que «la frágil pantalla golpee el suelo».
La solicitud de patente agrega que incluso tener la pantalla doblada en un ángulo de menos de 180 grados podría ser útil porque los bordes del dispositivo golpearían el suelo en lugar de la pantalla. Una pantalla enrollable podría retraer la pantalla automáticamente si el dispositivo cae a una velocidad que excede ciertos límites predeterminados.




















Danos tu opinión